Replacement 1" Snap-in Floating Weight Stack Plate Bushings. Priced per each (sold individually)
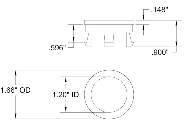
NOTE: There were several versions of this bushing that were molded by various companies over several decades. Your existing bushings may vary slightly depending on the manufacturer. You may compare the dimensions in the drawing below before deciding to order. If your existing bushings do not have 4 "prongs" as shown in the stock photo, then our bushings will not fit in your application.

- Photo shows more than one for display purposes only

These are the floating guide rod/selector shaft bushings found on older cast iron weight stack plates that use 1" diameter guide rods. They tend to break and wear out over time and are easily replaced using a screw driver to pop out the broken bushing and simply "snap in" the new one.
They are typically referred to as "floating" because after they are installed they can be moved around a little bit. This is due to the fact that the holes in the castings they are installed in are not machined identically. So a small amount of "tolerance" was allowed in the fit. This leaves some "wiggle room" when deciding if our bushings are a close enough match with your existing bushings to fit properly.
If one or more of your weight stack plates are not lining up properly, it could be the result of missing or broken bushings.
These replacement bushings are getting harder and harder to find.

- Photo shows more than one for display purposes only
Made of black nylon.